Chapter 1. Introducing the Onyx Deskside
Graphics Workstation

The Onyx deskside system, model CMN A011, is a high-performance graphics workstation in a compact deskside enclosure. This guide contains end-user hardware information about the deskside systems.

Features

Onyx R10000™ models come with an IP25 CPU board using one, two, or four MIPS® R10000 microprocessors.

POWER Onyx models come with an IP21 CPU board using one or two R8000™ microprocessors. InfiniteReality™ graphics are not available with POWER Onyx systems.

Basic Onyx models come with an IP19 CPU board using one, two, or four R4400™ microprocessors.

Onyx i-Station™ and RealityStation™ systems offer a single MIPS microprocessor CPU board. Multi-processor CPU upgrades are not available for these products.

Onyx deskside workstations offer the following features:

  • Up to 2 GB of RAM on the system memory board.

  • An IO4 board with multiple control functionality and expandability (also known as the POWER channel™).

  • A selection of graphics board sets.

  • A 40-bit address bus, which provides parity-checked high-speed data transfers between the CPU and memory board.

  • The Silicon Graphics® Ebus, which supports protocols for consistent data sharing and high-speed block data transfers between main memory, the I/O subsystem, and the graphics subsystem; the 256-bit Ebus (also known as the POWERpath-2™ system bus) supports multiprocessor operations.

  • Space for up to seven half-height SCSI disk and tape peripherals in the chassis (or one half-height and three full-height devices).

  • Three VME™ expansion slots.

  • A 25-pin parallel port.

  • One RS-422 and three RS-232 serial ports.

  • An independent system status monitor (System Controller) that records error information during any unplanned shutdown.

Available options include:

  • VMEbus I/O and controller boards

  • additional half-height and full-height SCSI drives

  • external 1/2-inch and 8-mm SCSI-controlled tape backup systems

  • a system console ASCII terminal

  • CPU, graphics and memory upgrades

  • internal graphics support for up to eight monitors using a VIO6 I/O panel (InfiniteReality and i-Station only)

  • optional IO4 mezzanine daughter boards (also known as HIO modules) for expanded functionality of the IO4

Although the Onyx deskside workstation is similar in size and external appearance to previous Silicon Graphics deskside systems, all of its internal features are completely different in design.

The Onyx Board Set

The Onyx graphics workstation board set consists of

  • an IP25, IP21, or IP19 CPU board

  • an MC3 memory board (also known as a POWERpath-2 interleaved memory board)

  • an IO4 controller board

  • InfiniteReality graphics systems with GE12, RM6, and DG4 graphics boards (IP21 CPU boards are not available with InfiniteReality or i-Station systems)

  • RealityEngine2 (RE2) and VTX systems with GE10, RM4, and DG2 graphics boards

The InfiniteReality or i-Station graphics configuration supports one or two RM6 boards.

RE2 configurations support one, two, or four RM4 or RM5 boards with the RealityEngine2 board set. The VTX board set supports the use of only one RM4 graphics support board.


Note: 110 V systems may need a power upgrade to 220 V if you install additional graphics or VME boards. Check with your Onyx service provider. See Appendix E for additional information on using optional VME boards.

The Onyx deskside system graphics board sets are not compatible with the POWER CHALLENGE™ or CHALLENGE™ deskside server backplane. A visualization console option is available with POWER CHALLENGE™ systems. Figure 1-1 shows a functional block diagram of the Onyx deskside subsystems.

One of three available CPU boards is at the heart of your deskside system.

The IP 25 CPU board in your Onyx R10000 can house one, two, or four R10000 microprocessors. Each 3.3V R10000 uses a customized two-way interleaved data cache, and has dedicated second-level cache support. A high performance bus interface links the CPU directly with supporting SRAM.

The IP21 CPU board in the POWER Onyx deskside uses one or two R8000 microprocessor sets. Each R8000 set uses a customized cache controller, a separate floating point unit, and two tag RAM and two SRAM cache units. InfiniteReality and i-Station systems are not available with IP21 CPU boards.

The IP19 CPU board in your Onyx deskside can house one, two, or four MIPS R4400 64-bit RISC microprocessors. Board logic on the IP19 is "sliced" to give each R4400 its own dedicated support logic. This allows each R4400 to run independently.

The MC3 system memory board can be populated with 16 MB or 64 MB SIMM modules. The MC3 has 32 SIMM sockets, providing up to 2 GB of on-board memory.

The main Onyx I/O subsystem consists of an IO4 board, which plugs directly into the Ebus and uses optional mezzanine cards. Mezzanine boards are daughter boards that plug into an IO4 board to allow expansion and customizing. See Appendix D for additional information on mezzanine boards.

Controllers for I/O devices connect to the 64-bit-wide Ibus. The Ibus connects to the Ebus through the IA and ID chips, which form an asynchronous boundary to provide the 320 MB per second bandwidth on the Ibus. Up to two mezzanine cards plug into the Ibus on the IO4 board.

The IO4 is the fundamental component of the I/O subsystem. It contains all of the I/O controllers needed to implement a basic Onyx system:

  • an Ethernet controller

  • two fast and wide 16-bit SCSI-2 controllers

  • a VME interface port

  • four serial ports

  • a parallel port

  • a graphics connection port

In addition, the IO4 board contains the logic for flat cable interfaces (FCIs), which are used to connect to the graphics and VMEbus. The IO4 board also has connections for mezzanine boards, which are used to provide expansion I/O controllers.

Figure 1-1. Onyx Deskside Workstation Functional Block Diagram

Figure 1-1 Onyx Deskside Workstation Functional Block Diagram

I/O Interfaces

Ibus Interface

The IA and ID application-specific integrated circuits (ASICs) act as bus adapters that connect the Ibus to the much faster Ebus. In addition to making the necessary conversions back and forth between the two buses, the IA and ID ASICs perform virtual address mapping for scatter/gather DMA operations and maintain cache coherency between the Ebus and the I/O subsystem.

Flat Cable Interface (FCI)

The IO4 contains two Silicon Graphics proprietary FCI interfaces. FCIs are synchronous, point-to-point interfaces that allow communication between devices connected by a cable. The FCIs are used to connect to the graphics board set or the VME64 bus adapter.

The two FCIs on the IO4 in a system are connected to the VME Channel Adapter Module (VCAM) board, which contains a VME adapter subsystem in the backplane and connects to the graphics controllers.

VMEbus Interface

The VMEbus is supported through a VCAM interface connected to an IO4 board. This bus is standard equipment and is located in the system backplane, next to the Ebus. The VCAM plugs directly into the IO4 board without any cabling.

The VME interface supports all protocols defined in Revision C of the VME Specification, plus the A64 and D64 modes defined in Revision D. The D64 mode allows DMA bandwidths of up to 60 MB per second. The VME interface can operate as either a master or a slave. It supports DMA to memory on the Ebus and programmed I/O operations from the Ebus to addresses on the VMEbus.

In addition to interfacing with the VMEbus, the VCAM provides scatter/gather virtual address translation capability and a DMA engine that can be used to increase the performance of non-DMA VME boards.

SCSI-2 Interface

The IO4 contains two 16-bit SCSI-2 device controllers. Each controller can operate with a bandwidth of up to 20 MB per second and can be configured for either single-ended or differential operation.

To accommodate extra device controllers, the optional SCSI mezzanine board contains three 16-bit SCSI-2 controllers. Two of the controllers are differential only; the third is configurable as single-ended or differential. These controllers are identical to those used on the main IO4 board.

SCSI mezzanine boards can be plugged into either or both of the mezzanine board slots on an IO4 board, allowing up to eight SCSI-2 controllers per IO4.

Ethernet Interface

The IO4's Ethernet interface operates at a standard Ethernet rate of 10 Mb per second, and supports an AUI (15-pin) physical connection. The controller is intelligent; it requires no direct CPU involvement when packets are transmitted or received.

Parallel Port

The IO4 contains a DMA-driven parallel port capable of operating printers or performing high-speed data transfer to or from external equipment at rates up to 300 KB per second.

Serial Ports

The IO4 contains one RS-422 and three RS-232 serial ports, all of which are capable of asynchronous operation at rates up to 19.2 Kbaud. The RS-422 port can be operated at up to 38.4 Kbaud, provided the RS-232 ports are not all in use.

The Graphics Subsystems

InfiniteReality, RealityEngine2, i-Station, RealityStation, and VTX are the available graphics board sets in the Onyx deskside system. The graphics subsystems are comprised of

  • the Geometry Engine® (GE)

  • the Display Generator (DG)

  • the Raster Memory (RM)

The InfiniteReality Graphics Subsystem

This section describes the general technical features of the InfiniteReality and i-Station graphics boards. See the following section for information on the RE2, RealityStation, and VTX graphics board sets.

See Figure 1-2 for a block diagram illustrating the buses that connect the components of the InfiniteReality and i-Station graphics subsystems.

The deskside InfiniteReality or i-Station graphics system uses one or two RM6 boards, a GE12, and one DG4.

The GE12 Board

The GE12 board comes equipped with GE11 geometry engines in either a basic (i-Station), or more powerful (InfiniteReality) version. The GE12's host interface processor (HIP) ASIC interfaces with the host system through a Flat Cable Interface (FCI) on the IO4 board. The FCI is a 64-bit wide bus, and it provides an interface on the IO4 board between the graphics subsystem and the Ibus.

Figure 1-2. InfiniteReality Graphics Subsystem Functional Block Diagram

Figure 1-2 InfiniteReality Graphics Subsystem Functional Block Diagram

The RM6 Board

Communication between the RM6(s) and the DG4 board is over the Video Frontplane bus. The readback bus (Rbus) provides a path for pixels flowing from the RM6 frame buffer to the geometry engine distributor (GED). The Video Control bus provides access to the color maps, window display modes, and cursor control modes. The Raster Memory (RM6) board scan-converts triangle data from the triangle bus (Tbus) into pixel data. The RM6 then organizes the data into a series of spans (vertical strips of pixels) and transfers it to the frame buffer.

The DG4 Board

Following the transfer to the frame buffer, the RM6 hands off control of the graphics subsystem to the display generator (DG4). The DG4 subsystem receives digital frame buffer pixel data from the RM6 board over the video frontplane. Two display channels per display generator (DG4) board are standard. An additional six are optional on the multichannel display generator DG4-8.

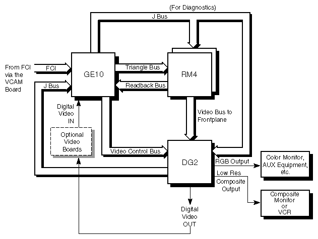
The RealityEngine2 and VTX Graphics Subsystem

In its maximum configuration, the RE2 board set can use up to four RM4 boards. The VTX graphics board set is limited to one RM4.

The system CPU board interfaces with the graphics board set over a Flat Cable Interface (FCI). Data sent by the GE10 to the RM4 board is transferred over the Triangle bus. Responses from the RM4 board are received over the Readback bus.

The GE10 board interfaces with the DG2 board over the video control bus. The Video Control bus provides access to the color maps, window display modes, and cursor control modes.

The RM4 board communicates with the DG2 through the (DI) video bus. See Figure 1-3 for an overall block diagram of the RealityEngine2 and VTX graphics board sets.

Unless otherwise indicated, the information in the following three sections applies only to the RE2 and VTX versions.

Figure 1-3. RE2 Graphics Subsystem Functional Block Diagram

Figure 1-3 RE2 Graphics Subsystem Functional Block Diagram

Geometry Engine (GE10) Board

The Geometry Engine (GE10) board processes Graphics Library™ (GL) commands and data from the system, and it is the first stage of the graphics pipeline. The RE2 GE10 has 12 GE processors. The VTX GE10 has 6 GE processors. The RE2 has twice the geometry engine processing capability of the VTX configuration.

Raster Memory (RM4) Board

The Raster Memory (RM4) boards scan and convert triangle data from the Triangle bus into pixel data. The RM4 then organizes the data into a series of spans (vertical strips of pixels) and transfers it to the frame buffer. The frame buffer is a rectangular array of image memory processors.The graphics subsystem displays images by projecting continuous spans onto the screen. Following the transfer to the frame buffer, the RM4 hands off control of the graphics subsystem to the Display Generator (DG2) board.

The RE2 board set can have up to four RM4 boards. The cost-reduced VTX supports one RM4 board. As more RM4 boards are added, the spans are interleaved, providing higher resolution and display quality.

Display Generator (DG2) Board

The Display Generator (DG2) board receives digital frame buffer pixel data from the RM4 board over the video bus. The DG2 then processes the pixel data through digital-to-analog converters (DACs) to generate an analog pixel stream for display.

System and SCSI Backplanes

The enclosure comes with a 13-slot cardcage and backplane that includes three VME expansion slots and six graphics board slots.

To the right of the cardcage is room for seven half-height (or one half-height and three full-height) SCSI devices. Each drive sits in its own individual "sled" and slides into the drive rack. When fully inserted, the drive and sled assembly plugs into the SCSI backplane at the rear of the rack.

See the "SCSI Drive Rack" section of Chapter 2 for specific information about peripheral locations.

SCSI I/O Devices

SCSI drives are the only devices internally supported by Onyx deskside systems. The system's drive rack has space for seven half-height devices. All drives must be front loaded after being mounted to a special drive sled. Supported devices include hard disks, digital linear tape (DLT) drives, 1/4-inch cartridge, 4-mm and 8-mm tape drives, and CD-ROM drives. Installing a full-height drive (such as the 8-mm or DLT) requires using two half-height slots. See Chapter 4 for installation instructions.

System Controller

Located just above the SCSI drive rack is an on/off key switch and the System Controller display panel. The System Controller is a microprocessor-controlled, battery-backed subsystem that is mounted directly to the system backplane. It monitors various system operations, including chassis temperature, system fan speed, backplane voltages, and the system clock. The battery backup supports only the System Controller's NVRAM and internal system clock.

When any operating parameter exceeds or drops past a specified limit, the System Controller can execute a controlled shutdown of the Onyx deskside system. During such a shutdown procedure, the System Controller maintains a log with the last error message(s) received before the shutdown.

Chapter 2 shows the location of the System Controller's front panel on the chassis. Figure 3-13 in Chapter 3 identifies its control buttons.

To understand and use the System Controller, see "Using the System Controller," in Chapter 5.

Operating Considerations

This section covers the basic requirements for physical location to ensure proper chassis operation.

The Onyx deskside chassis is designed to fit into a typical work environment. Take care to exercise and maintain the following operating conditions:

  • The chassis should ideally have a 6-inch (15-cm) minimum air clearance above the top. The first line of Table 1-1 shows the side clearances required. If the chassis is positioned under a desk or other equipment and the top air clearance is less than 6 inches (15 cm), make sure that the side air clearances are at least as great as those listed on the second line of Table 1-1.

  • The chassis should be kept in a clean, dust-free location to reduce maintenance problems.

  • The available power should be rated for computer operation.

  • The chassis should be protected from harsh environments that produce excessive vibration, heat, and similar conditions.

    Table 1-1. Required Air Clearances for the Deskside Chassis

    Top Clearance

    Left Side[a]

    Right Sidea

    Front

    Back

    More than 6"

    3" (8 cm)

    6" (15 cm)

    6" (15 cm)

    6" (15 cm)

    Less than 6"

    6" (15 cm)

    10" (25 cm)

    8" (20 cm)

    8" (20 cm)

    [a] Side as viewed from the front of the chassis.


Additional specifications are provided in Appendix A, "Hardware Specifications."

If you have any questions concerning physical location or site preparation, contact your Silicon Graphics system support engineer (SSE) or other authorized support organization representative before your system is installed.

Chapters 2 through 5 in this guide discuss hardware topics common to all of the Onyx deskside workstation configurations.